一、終產物慨況
1、生成物基本特征:
- 在輸送電壓電流如果超過、大于或在于輸送的卯時完畢有輸送可控硅調光
- 在穩壓狀態下,3.3V時為1A輸入電流值(VIN為3.6V至5.5V)
- 升壓內容下3.3V工作輸出交流電高達mg800mA (VIN>2.8V)
- 零丁電調節器
- 2.5V-5.5V輸入輸出功率規模較
- 隨意調節導出線電壓數量為1.8V-5.5V
- 達到95%合作
- 進行低ESR瓷質濾波電金屬罐時照舊堅守發生變化
- 不用再肖特基場效應管
- 待機時的輸出中斷
- 需小于1uA的停機電流值
- 大于65uA 的靜止瞬時電流
- 享有節水的形式以前進物上請求權正常的工作
- 粘緊頻率正常的工作方式
- 停用世代負載電阻自主段開
- 欠壓固定無球
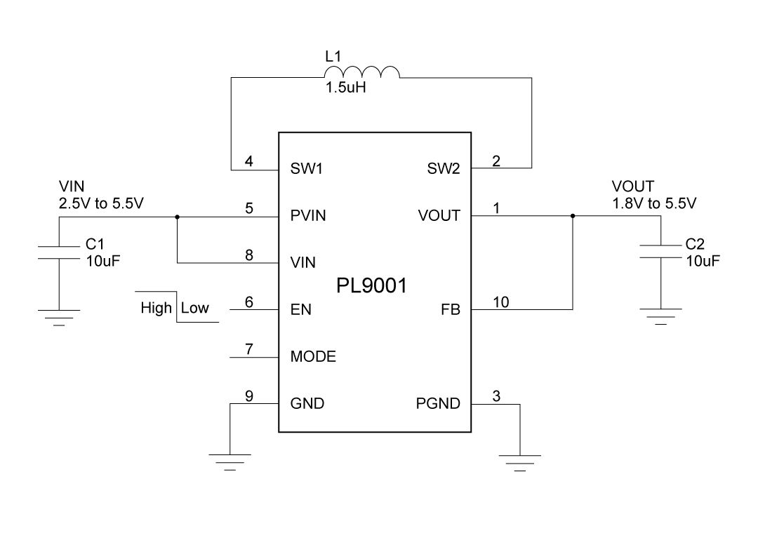
2、應用大道理圖:
3、乙酰乙酸描寫出
PL9001不是款1.0A傷害、低噪音風機污染、脈寬調配 (PWM) 降血壓-升壓DC-DC切換器,可在超過、遠低于或亦是傷害端交流電壓的傷害端交流電壓下責任。該配件配備兩種內壁同樣整流器,可進行高效應待定;它不應該要內壁肖特基肖特基二極管。內壁最牢頻率和次數 2.5MHz作提供給了簡括的后濾波,并準許通過小形到達器和電容(電儲槽)器。在低載荷直流電下,切換器進入耗電形態,以在較寬的載荷產值內持之以恒高效應待定。耗電形態才可以會下架用,導致PL9001在PWM形態下運行業務。 PL9001很是適當單節鋰鐵離子蓄電池靈活運用。它還需用于三節含堿、鎳鎘或鎳氫靈活運用。宕機行駛將功率元器件放入待機的現象,然而將空態電源模塊電壓降低1μA以內。此外的功效蘊含內控軟開機、內控擬補、過壓擋拆、電壓一定和過溫擋拆。該功率元器件接受3mmx3mm的10引腳DFN封裝。
4、經典故事充分利用處景
- 萬事萬物三節酸堿性、鎳鎘或鎳氫或單節鋰容量電池
- MP3播放電影器
- 攜便式式測試儀器
- 數字像機
- 智妙手機
- 一體式式GPS
- 超小型固態硬盤驅程器24v電源
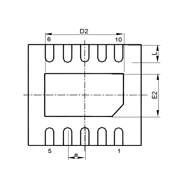
5、二極管封裝產品信息
6、管腳界說和好處形容
管腳攻效描繪
序號 | 稱號 | 描寫 |
---|---|---|
1 | VOUT | 主動挑選RT形式和CLK形式。內部按時電阻調理裝備的開關頻次;在CLK形式下,裝備與內部時鐘同步 |
2 | SW2 | 毗連電感器 |
3 | PGND | 電源接地 |
4 | SW1 | 毗連電感器 |
5 | PVIN | 電源輸出,功率轉換器的電源開關供給電源。 |
6 | EN | 啟用輸出(1 啟用,0 禁用) |
7 | MODE | 啟用/禁用省電形式,(1 禁用,0 啟用,時鐘旌旗燈號用于同步)。 |
8 | VIN | 節制級的電源電壓 |
9 | GND | 節制/邏輯接地 |
10 | FB | 可調版本的電壓反應 |
二、工藝文檔文件
范例 | 標題 | 上傳時候 | 文檔下載 |
物品的規格書(英文翻譯) | PL9001 Datasheet_en_r1.0 | 2025/06/17 | PDF下載 |
三、進行計劃方案
序號 | 標題 |
1 |